운동 기구 아이디어 설계중 구조가 궁금해서 이미지 수집
본 발명은 무동력 런닝머신에 관한 것으로, 별다른 조작 없이 몸의 위치를 이동시키는 방법에 의해 속도를 조절할 수 있는 무동력 런닝머신에 관한 것이다.
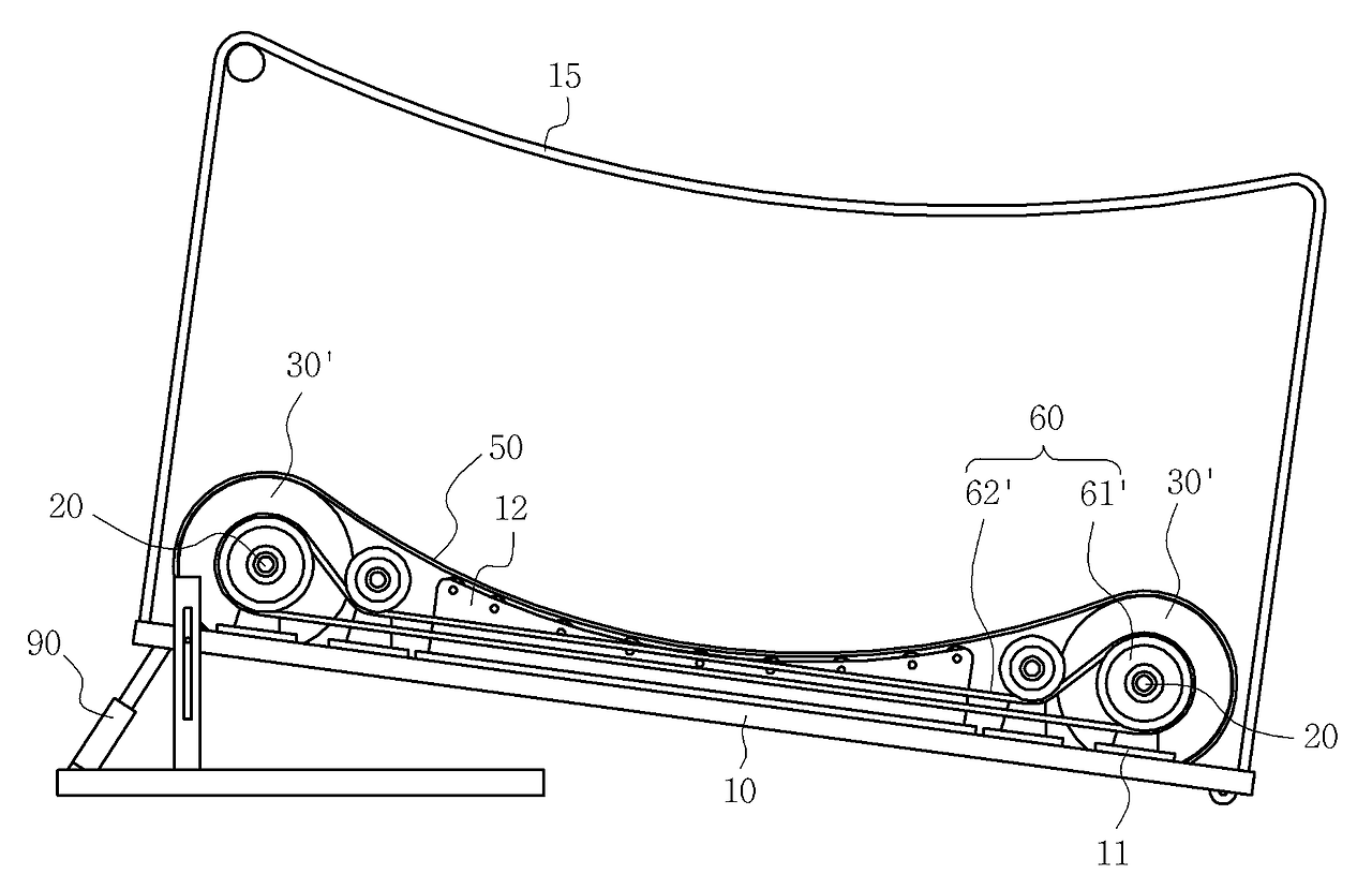
본 발명의 구성은 프레임; 프레임의 선단과 후단에 평행하게 횡설되는 회전축; 회전축의 양단에 각각 설치되는 스프로킷; 양측 스프로킷에 감기는 체인; 체인의 둘레를 감싸며 체인과 부분적으로 고정되는 런닝 벨트; 상부로 노출된 런닝 벨트가 선단으로 갈수록 경사도가 커지도록 하는 경사도 형성수단; 으로 구성된다.
본 발명은 동력 없이도 작동되므로 사용시 전기 에너지 소모가 없고 몸의 위치에 따라 런닝 벨트의 회전 속도가 달라지므로 별다른 조작 없이 몸의 위치를 이동함으로써 속도를 조절할 수 있는 효과가 있다.


Description
무동력 런닝머신{None power running machine}
본 발명은 무동력 런닝머신에 관한 것으로, 별다른 조작 없이 몸의 위치를 이동시키는 방법에 의해 속도를 조절할 수 있는 무동력 런닝머신에 관한 것이다.
일반적으로 런닝머신은 실내에서 런닝을 할 수 있도록 한 것으로, 대부분 동력을 이용하여 벨트를 강제 회전시키는 구조이다. 이러한 런닝머신은 가격이 비싸고 전기 소비량도 크다.
무동력 런닝머신이 제20-2010-0011394호로 실용신안이 공개되었는바, 그 구조를 살펴보면 일측으로 구동 로울러가 마련되고, 타측으로 종동 로울러가 구비되어 상기 구동 로울러와 상기 종동 로울러 사이에 런닝 벨트를 벨트 결합하여 사용자의 발구름에 의해 수동으로 무한 회전하도록 형성된 런닝 본체와; 상기 구동 로울러와 동일 축 선상에 위치되어 상기 런닝 본체 일측 외측으로 결합되고, 상기 런닝 본체의 종동 로울러 측으로부터 상기 구동 로울러 측으로 선회작동되어 상기 런닝 본체의 런닝 벨트가 지면과 간섭되지 않도록 형성된 선회 지지수단으로 구성된다. 이와 같은 구조로 이루어진 런닝머신은 런닝 벨트의 경사도가 항상 동일하여 속도를 조절할 수 없는 문제점이 있다.
물론 각도를 수동이나 자동으로 조절하여 속도를 가감할 수 있는 런닝머신도 있다. 그러나 수동식의 경우 린닝 중 런닝머신에서 내려 각도를 조절해야 하는 번거로움이 있고, 자동식은 런닝 중 조작판의 버튼을 눌러야 하므로 밸런스가 흐트러지고 자칫 잘못하면 넘어져 다치는 사고가 종종 발생한다.
KR, U, 20-2010-0011394(2010.11.24)
이에 본 발명은 종래와 같은 문제점을 해결하기 위해 창안한 것으로, 동력을 이용하지 않고 구동될 수 있도록 하면서 몸의 위치를 옮기는 방법에 의해 런닝 벨트의 속도를 조절할 수 있는 무동력 런닝머신을 제공하는데 그 목적이 있다.
무동력 런닝머신특허 출원서 파일 첨부





'바른 생각 바른 글' 카테고리의 다른 글
| 삶에 관해 궁금한 한 가지 (11) | 2025.08.13 |
|---|---|
| 멀뚱멀뚱 사진과 달리는 사진 (3) | 2025.08.11 |
| 해 봤다는 놈과 잘 안다는 놈을 조심해 (5) | 2025.08.10 |
| 따따모 모임 - 묵호 어달항 근처 (4) | 2025.08.06 |
| 제품 포장 박스 형태와 디자인 참고 (2) | 2025.08.04 |
| 섬세하고 예민하고 패턴을 알아차리세요. (0) | 2025.07.21 |
| 남 멈출 수 없어. Sia - Unstoppable (6) | 2025.07.18 |
| 재능이 우리를 망친다. (2) | 2025.07.17 |
취업, 창업의 막막함, 외주 관리, 제품 부재!
당신의 고민은 무엇입니까? 현실과 동떨어진 교육, 실패만 반복하는 외주 계약,
아이디어는 있지만 구현할 기술이 없는 막막함.
우리는 알고 있습니다. 문제의 원인은 '명확한 학습, 실전 경험과 신뢰할 수 있는 기술력의 부재'에서 시작됩니다.
이제 고민을 멈추고, 캐어랩을 만나세요!
코딩(펌웨어), 전자부품과 디지털 회로설계, PCB 설계 제작, 고객(시장/수출) 발굴과 마케팅 전략으로 당신을 지원합니다.
제품 설계의 고수는 성공이 만든 게 아니라 실패가 만듭니다. 아이디어를 양산 가능한 제품으로!
귀사의 제품을 만드세요. 교육과 개발 실적으로 신뢰할 수 있는 파트너를 확보하세요.
지난 30년 여정, 캐어랩이 얻은 모든 것을 함께 나누고 싶습니다.
귀사가 성공하기까지의 긴 고난의 시간을 캐어랩과 함께 하세요.
캐어랩